深弘知识产权专注国内外商标专利申请-软著版权登记-高新认定-项目申报-知产贯标-研发资助-政府补贴等知产服务;深圳专利申请选择深弘,让您的创新更有价值!~
近年来,“网红”已逐渐成为当今社会事物指代的热门词。同时,在网红频出的这个时代,网红自己的名字也被他人抢注。当然,网红本身可以使用法律武器捍卫自己的独有的名字维权,那么问题来了,“网红”一词又是谁的专属?
苏州一公司“网红”商标遭驳回
近日,国家知识产权局原商标评审委员会的网站公告了第32184242号“网红”商标驳回复审决定书。商标的具体信息如下:


2018年7月11日,苏州智取商贸有限公司申请注册第25类“网红”商标(第32184242号),商品和服务类别包括:服装;外套;裤子;童装;帽子;袜;手套(服装);披巾;腰带;鞋等。但是该申请被商标局驳回,之后苏州智取商贸有限公司又请求商标局复审。
智取商贸申请复审的主要理由是:申请人申请商标仅是出于其自身业务发展需要,驳回决定中的理由无任何事实法律依据,且申请人在先第18779565号商标已注册成功。综上,申请人请求对申请商标在全部复审商品上的注册予以初步审定。
根据复审观点,“网红”被用作商标,并被用于指定商品,易使消费者对商品的品质等特点产生误认,因此不能用作商标。申请商标是《中华人民共和国商标法》第10条第1款第(7)项所指不得作为商标使用的标志。申请人所称其他商标的注册案与该案不同,不能作为对申请商标进行初步审定的当然理由。最后,申请商标在复审商品上的注册申请予以驳回。
申请人所称已有“网红”商标注册成功
申请人复审的主要理由中称,申请人在先申请的第18779565号商标已注册成功。

在先申请的第9类第18779565号商标于2017年4月14日注册成功,商品服务类别包括卫星导航仪器;智能手机;穿戴式行动追踪器;智能手机用套;智能手机用壳;手机屏幕专用保护膜;电影摄影机;摄影器具包;自拍杆(手持单脚架);照相机(摄影)等等。
为什么这两个“网红”商标结局不同呢?但是仔细搜索发现,结果不同的不仅是这两个“网红”商标。苏州智取商贸2015年至今间歇申请注册了多个带有“网红”字样的商标,这些商标大多数属于25类。

根据企查查数据,苏州智取商贸经营范围包括食用农产品、体育器材、珠宝首饰、化妆品、日用百货、计算机软硬件、通讯器材、电子产品、玩具、工艺美术品、办公用品、服装服饰、饰品、五金、日用品、机械设备、厨卫用品、母婴用品;预包装食品兼散装食品的批发与零售。
而苏州智取商贸申请注册的几个“网红”商标服务类别主要是服装、通讯其次、电子产品等,均在其业务范围内。有趣的是,该公司在在服装范围的商标申请前后有3次:



最早的申请已注册成功,而后两件在驳回状态。因此在2019年,该公司又一次申请了“网红”商标,但是商品服务的描述更加详细。

苏州该公司待这个“网红”商标还真是如初恋……
“网红”频出,“网红”商标何去何从
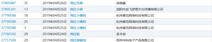
在搜索“网红”商标中,发现有超过一千个带有“网红”字样的商标,其中“网红先森”、“网红小姨妈”、“网红优品”、“网红头条”、“网红日记”、“网红隔壁老王”等奇葩商标眼花缭乱。


《中华人民共和国商标法》第10条第1款第(7)项规定,带有欺骗性,容易使公众对商品的质量等特点或者产地产生误认的,不得作为商标使用的标志。
附:关于第32184242号“网红”商标驳回复审决定书

深弘(semhope)知识产权专注知产实际案例研究,通过分析表象剖析事件本质;在知识产权服务领域,对国内外专利申请与规划、商标注册与规划、著作权登记与保护、高新技术企业认定等企业知识产权保护实务方面经验丰富。


