鸡肉,虽然是我们日常生活中常见的肉类食品,但笔者猜想你未必了解吃鸡的学问。据传,符离集烧鸡,德州扒鸡、河南道口烧鸡、锦州沟帮子熏鸡并称为“中国四大名鸡”。这四大名鸡你吃过哪几种?
当然,本文是正经的知识产权文,不是美食推荐。今天要聊的是德州扒鸡。为啥要说德州扒鸡呢?因为它出息了,德州扒鸡将要IPO了。
今年6月,山东证监局官网披露信息《山东德州扒鸡股份有限公司首次公开发行股票并上市接受辅导公告》,山东德州扒鸡股份有限公司(下称“德州扒鸡公司”)与国泰君安证券签订了上市辅导协议,并计划在上海证券交易所主板上市,这意味着300多年历史的德州扒鸡正式开启了IPO之路。

德州扒鸡
不过,德州扒鸡公司的IPO之路还任重道远。据了解,在以扒鸡闻名的德州市,有不少商家认为“德州扒鸡”属于“约定俗成”的通用名称,随意使用,甚至“高仿”山东德州扒鸡股份有限公司的产品包装。近日,一场“德州扒鸡”商标侵权案由最高院“一锤定音”,将这种打着地域特产旗号对受保护商标“拿来主义”的做法认定为商标侵权违法行为。
最高院“一锤定音”,“德州扒鸡”商标不是想用就能用!
2018年11月份,德州扒鸡公司向山东省济南市中级人民法院起诉山东省芳冠食品有限公司(以下简称芳冠公司)、章丘东方冷库商贸有限公司(以下简称东方冷库公司)侵害第3892642号“德州扒鸡”商标权。德州扒鸡公司发现芳冠公司在其多款产品上标注“德州扒鸡”字样,而且芳冠公司自己的商标标注在商品左上角且字体明显小于“德州扒鸡”,认为芳冠公司严重侵犯了德州扒鸡公司的注册商标专用权。
一审法院认为第3892642号“德州扒鸡”文字商标合法有效,德州扒鸡公司作为涉案商标专用权人,其合法权益应予以保护。根据《中华人民共和国商标法》第四十八条规定,商标的使用,是指将商标用于商品、商品包装或者容器以及商品交易文书上,或者将商标用于广告宣传、展览以及其他商业活动中,用于识别商品来源的行为。本案中,在被诉侵权的三款扒鸡产品包装上,均有“德州扒鸡”字样出现,并且均处于一般消费者最易识别的位置,且字体远大于包装当中的其他文字,能够轻易吸引消费者的注意力,实际上起到了识别该商品来源的作用,本院认为被告芳冠公司在涉案三款扒鸡产品包装上使用“德州扒鸡”字样的构成商标性使用。

涉案商标
判决如下:
一、被告章丘东方冷库商贸有限公司立即停止销售侵犯原告第3892642号“德州扒鸡”商标的产品;
二、被告山东省芳冠食品有限公司立即停止生产、销售侵犯原告第3892642号“德州扒鸡”商标的产品;
三、被告山东省芳冠食品有限公司于本判决生效之日起十日内赔偿原告山东德州扒鸡股份有限公司经济损失及合理费用共计15万元;
四、驳回原告山东德州扒鸡股份有限公司的其他诉讼请求。
芳冠公司不服一审判决,随后向山东省高级人民法院提起上诉,芳冠公司认为“德州扒鸡”应当被认定为约定俗称的通用名称,而芳冠公司对“德州扒鸡”的使用属于正当使用、非商标使用。
二审法院认为一审判决认定事实清楚,判决结果正确,应予维持。芳冠公司依然不服。
随后,芳冠公司又再度向最高人民法院提出上诉。最高院认为,德州扒鸡公司在本案中主张权利的第3892642号“德州扒鸡”商标目前仍为有效的注册商标,其注册商标专用权受法律保护。驳回山东省芳冠食品有限公司的再审申请。
至此历经三次庭审后,以最高院认定芳冠公司商标侵权结束。这一裁定结果将在一定程度上为“德州扒鸡”IPO之旅扫除一个障碍。
“德州扒鸡”商标的由来
中华老字号——德州牌扒鸡1692年创产,至今已有300余年历史,康熙南巡,驻跸德州,御赞德州扒鸡“神州一奇”。
据了解,山东德州扒鸡集团有限公司于2015年11月28日申请注册了第3892642号“德州扒鸡”商标。2013年10月13日,将该商标转让给德州扒鸡公司。核准使用商品为第29类:扒鸡、鸡翅、鸡腿(截止)。
2007年8月,“德州DEZHOU”商标被认定为驰名商标。2006年11月“德州”商标亦被商务部认定为“中华老字号”。
德州扒鸡公司称,“德州扒鸡制作技艺”属于国家级非物质文化遗产,但并非所有在山东省德州市生产的扒鸡都想当然地可以叫“德州扒鸡”。
揭秘德州扒鸡公司的知识产权
山东德州扒鸡股份有限公司始建于1953年,前身为中国食品公司德州市公司,是一家以生产经营德州扒鸡为主的省级企业,系农业产业化国家重点龙头企业,中华老字号企业,全国少数民族清真食品类定点生产企业。
众所周知,想要通过IPO顺利上市,知识产权是道难关!那么这个百年老字号商标的持有者在知识产权方面有哪些规划呢?
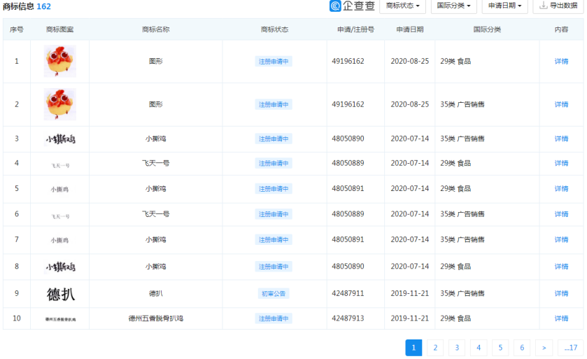
据企查查显示,德州扒鸡公司共申请了162个商标。

最早于1982年申请了第159006号“德州”商标,申请类别为第29类,主要用于食品。

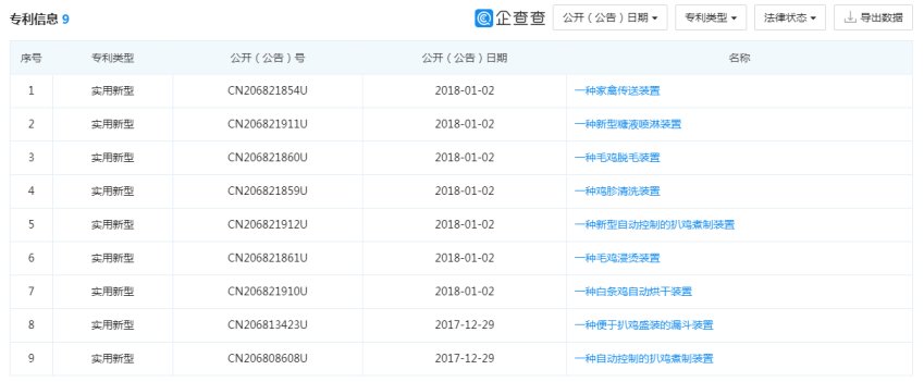
除了商标,山东扒鸡公司还申请了9项专利技术。

同时还拥有16项资质证书。

近些年,老字号商标侵权案件越来越多,比如稻香村、全聚德等老字号都遇到过商标侵权。“越是知名的老字号,此类问题越集中,特别是对于要借势资本市场实现新发展的老字号,更要在发展过程中加强自身知识产权保护和维权意识。”一位从事商标专利行业的人士说。
德州扒鸡公司表示,希望行业和消费者可以更加意识到保护品牌的重要性。“要提升行业地位,终究要以法律规则为准绳,以道德行规为约束,同时不断革新产品工艺,提升产品质量,增强自身竞争力。”
深弘知识产权专注知产实际案例研究,通过分析表象剖析事件本质;在知识产权服务领域,对国内外专利申请与规划、商标注册与规划、著作权登记与保护、高新技术企业认定等企业知识产权保护实务方面经验丰富。


