湖人总冠军,球迷用了好几年的“胡仁总灌君”梗突然就成真了,也为“魔幻”且漫长的2019-2020赛季画上了句号。

同时#湖人总冠军#和#科比你看到了吗#登上微博热搜。

无数球迷到科比的微博底下留言!大家都想说一声:老大!想你了!


“胡仁总灌君”商标已注册
近日,据商标局网站查询得知,“湖人总冠军”的谐音“胡仁总灌君”已于2019年12月10日被一带一路成都国际贸易有限公司申请为商标。
目前核准使用在第41类文体娱乐类、第43类饭店。


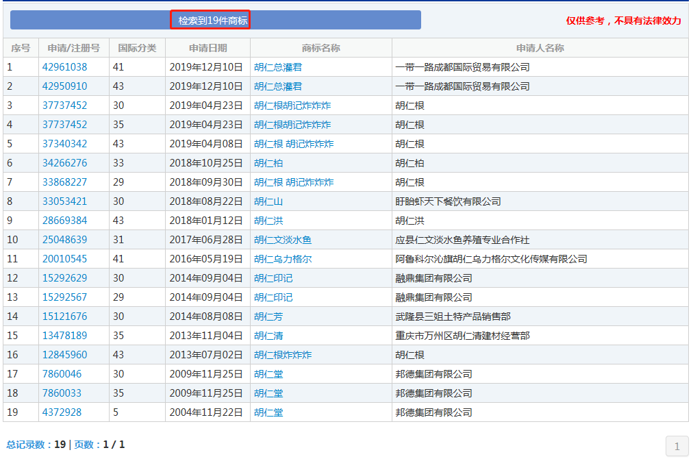
数据显示,含有“胡仁”字样的商标共有19件;

“灌君”商标有10件。

郑州爱农购网络科技有限公司于2017年10月10日,申请了第一件“灌君”商标,目前核准使用在第1类。

企查查数据显示:一带一路成都国际贸易有限公司成立于2015年3月,2020年7月14日已经更名为四川冻梨科技有限公司。

公司名下共有商标81件,不仅有“胡仁总灌君”,还有“皇马”、“皇宫”、“纳兰”、“貂蝉”等商标。

商标申请分布在各个类别,其中66.67%的商标已经申请成功。

不过,目前“皇马”商标在异议中。

据报道,对于当时为什么申请“胡仁总灌君”商标,四川冻梨科技有限公司工作人员表示,不太清楚,然后匆匆挂掉电话。
“胡仁总灌君”餐馆火了
因为和“湖人总冠军”谐音,一家名为“胡仁总灌君”的餐饮店在网上走红。不得不说,就单单冲这名字也是“真香”,店名也是真心霸气!

不管是开胡仁总灌君的餐厅,抑或是球迷自行组织观赛活动,这一切都是出自于对湖人的喜爱,让我们一起大声喊出来:万物皆可湖,胡仁总灌君(湖人总冠军)!


