点击链接查看视频
提起罗永浩,很多人都会想到他“彪悍”的创业史。从创办牛博网,到做手机,再到试水电子烟,最终都失败收场。去年被限制消费时,罗永浩承认因为创业失败欠下了一笔巨债,一时引发很多群嘲。
今年9月23日,在《脱口秀大会》总决赛上,罗永浩表示,6亿债务已经还了4亿,剩下的预计一年内还清。

罗永浩调侃称:“等我们这些债务真的还完了之后,可能会拍一个纪录片,来纪念这一段诡异的人生旅程。这个纪录片的名字我都想好了,就叫《真还传》。”
10月14日,一部名为《真还传》小说在网上热传,并登上了微博热搜!

罗永浩被化名为“罗玉龙”,小说情节与现实极其相符,被多个科技账号大肆推广。这部小说的作者为睿讲睿道,直言“本小说纯属虚构,不吹不黑”。

目前,该小说已连载 35 章,从标题可以看到“乔布斯传人”、“不能坐飞机和高铁”、“欠了 6 个多亿”等与罗永浩关联的信息。

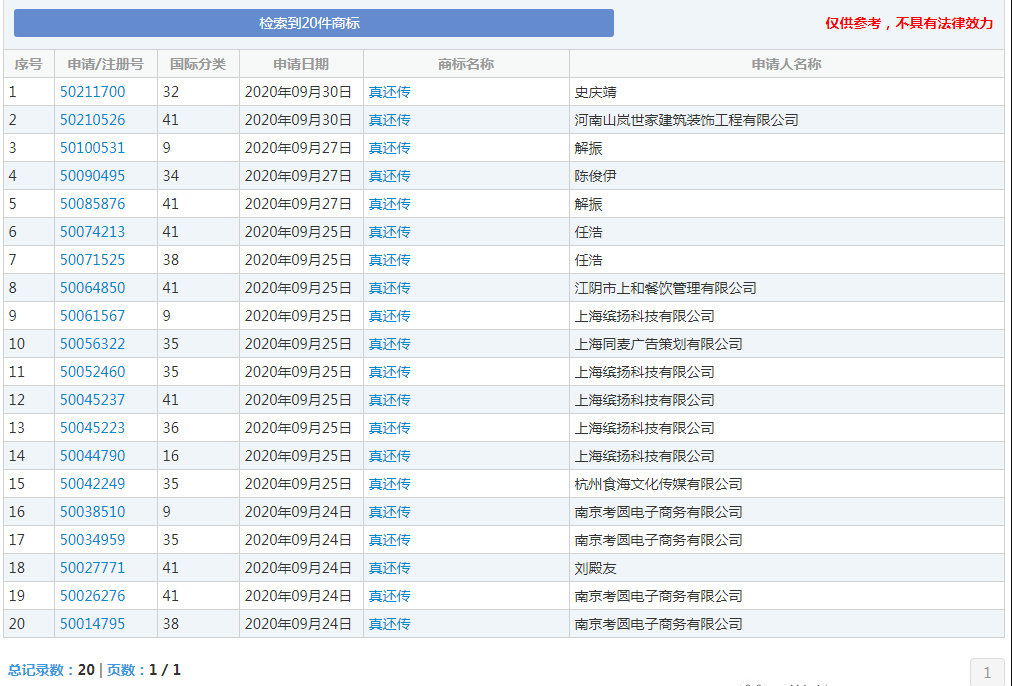
出了小说还不够,商标申请也得跟上!
据商标局网站查询得知,9月24日,也就是《脱口秀大会》总决赛的第二天,南京考圆电子商务有限公司就申请了4件“真还传”商标。这四件商标分别是第50038510号、第50034959号、第50026276号、第50014795号商标,申请类别为第9类、第35类、第41类和第38类。申请人刘殿友也于9月24日申请了第50027771号“真还传”商标,申请类别为第41类。
啧啧,这速度也是没谁了!
而截止2020年10月15日,已有20件“真还传”商标申请,其中包括11个申请人,申请类别包含第16类办公用品、第35类广告销售、第36类金融、第41类教育娱乐等多个领域。

与此同时,有网友喊话罗永浩收版权费,甚至有网友怀疑这本书是罗永浩本人写的!

有的网友还让查一下“罗玉龙”商标申请了没有。

商标局网站查询得知,只有一件第31915156号“罗玉龙”商标信息,苏州棠澜商贸有限公司申请于2018年6月29日,目前处于无效状态。

“罗永浩”、“老罗严选”商标被抢注
3月19日,罗永浩在微博发布公告称,他“决定做电商直播了”。同时他还向李佳琦发出了挑战,要做“带货一哥”。

从一年还了4个亿的债务来看,罗永浩在“带货一哥”这条路上走的还算顺畅,但是,一个不小心名字已经被抢注。
2019年10月16日光山县茗阳阁科技有限公司,申请了第一件第41677451号“罗永浩”商标,不过该商标目前属于失效状态。

2020年3月20日至4月16日,不到一个月的时间,光山县茗阳阁科技有限公司陆续又在第29类食品、第30类方便食品、第36类金融物管等类别申请了28件“罗永浩”商标。

在这期间,也有一些个人在第29类食品、第30类方便食品、第35类广告销售等类别申请了“罗永浩”商标,目前均处于等待实质审查阶段。



除了“罗永浩”商标被抢注以外,“老罗严选”也没逃过被抢注的魔掌。
据商标网查询,除却罗永浩目前直播的公司北京交个朋友数码科技有限公司(以下简称“交个朋友公司”)申请的45件“老罗严选”商标外,有两家公司分别申请了35类的“老罗严选”商标,这两件商标的申请时间都比交个朋友公司申请第一件“老罗严选”商标的时间早。

一件是南安市司登鸿鑫电子商务有限公司于2020年4月3日申请的第45149865号商标,该商标目前正在注册申请中。

另一件则是由宿迁公海生物科技有限公司于2020年4月7日申请的第45201983号商标,服务于为零售目的在通信媒体上展示商品; 为商品和服务的买卖双方提供在线市场; 特许经营的商业管理; 通过全球计算机网络提供商业信息; 替他人推销。

经过被抢注的教训,交个朋友公司自2020年3月25日至今,申请了111件“交个朋友”商标,45件“老罗严选”商标,72件“罗永浩”商标,均涵盖了45个类别。



不得不说,老罗真豪气!
感慨的同时,最后还是提醒大家商标布局一定要趁早,建议企业在选择商标注册类别时一定要尽可能全面,才能更好保护品牌。



